andrionov@gmx.de
jetboat.pro motor-bolotokhod.ru

Попытаюсь сделать "Багги-Ски".

Re: Попытаюсь сделать "Багги-Ски".

Сообщение viktorr » 29 сен 2020, 13:31

ANP писал(а):Как показывает практика - лучший водомет - дешевый водомет)))


До оглашения Сегмента цен, думаю- не дойдёт :D
Чтобы сделать дешёвый водомёт, надо много знать самодельщику.
Надо знать назначение и взаимодействие отдельных частей водомёта. И упрощать и упрощать!
Вот я найду одну темку, как Топик строил водный мотоцикл. С нуля!!!
Очень поучительная , Добрая История, про трудолюбивого парня! Хотя, фейеверка не получилось, но, уважение вызывает.
Он строил -быстро(не как я), применял , такие-же методы -как я- собирал всякий хлам по сарайкам и двору!)))
Один раз он задал вечером вопрос -про кардан, а, утром , он -уже стоял , сделанный из москвичёвского кардана , какого-то здорового шруса и бушных пыльников. Сама история- очень занимательная. :D Может найду тему. (В кладезе тем).
А, корпуса лепил, как горячие пирожки!!! :D
Аватар пользователя
viktorr
 
Сообщений: 3823
Зарегистрирован: 27 мар 2018, 10:57

Re: Попытаюсь сделать "Багги-Ски".

Сообщение sema0874 » 30 сен 2020, 00:23

http://jetboatforum.ru/viewtopic.php?f= ... &sk=t&sd=a наверно это она,тема.
sema0874
 
Сообщений: 112
Зарегистрирован: 02 окт 2011, 18:57
Откуда: Калининград

Re: Попытаюсь сделать "Багги-Ски".

Сообщение viktorr » 30 сен 2020, 09:28

sema0874 писал(а):http://jetboatforum.ru/viewtopic.php?f=8&t=805&st=0&sk=t&sd=a наверно это она,тема.


Отлично, Сёма. Хорошо, что ты помог. Пока ещё не вижу -она или не она, ШЛЮЗЫ на форуме забиты " валежником", пока -непроходимость нужного контента.
Но, наверное он, Мимо пройти -невозможно.
Да там, много материала - который надо почитать. :D
Конечно, не только в техническом плане, а, как-бы -разновекторно.
Там :shock: , три части -как я строил -катерок))). Скоро-уж станет - древнереликтовым эпосом. ;)
Вообщем -подождём, потом - посмакуем. ;)
Аватар пользователя
viktorr
 
Сообщений: 3823
Зарегистрирован: 27 мар 2018, 10:57

Re: Попытаюсь сделать "Багги-Ски".

Сообщение viktorr » 30 сен 2020, 10:36

viktorr писал(а):Начал я присматриваться к методу Сталкера. Типа -пофигизм и Простота !!! Хотя я и против втулки Гудрича, но, в некоторых случаях -Бог с ними.
Решил я его переплюнуть , на почве простейшей простоты(простейших простот) ;)
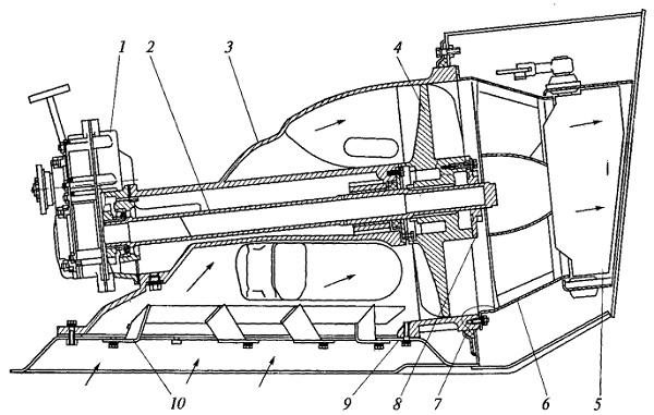
Конструкция СА - такая. Техноязыком:(от дейдвуда)
Дейдвуд в исполнении - "Закрытый Вал"; Упорный подшипник в Трубе , перед РК. То есть , РК- висит. Обечайка -понятно. После Обечайки - Металлический Куб , бесконечного(ясен пень -гидродинамического) Обьёма. На, стенке куба , где обычно находится сопло Сделаны (может и завтулены) - Отверстия для истечения реактивных водяных потоков(N- штук)!
Площадь всех отверстий , равна пересчитанной площади конусного сопла для этого комплекта!
То есть -не одно Сопло, а, несколько сопел в стенке.
Очень оперативное регулирование- Изменяем количество отверстий!!! Коэффициент Поджатия регулируется -так-же.
Трение в "Ложном СА" - ЧИСТО внутреннее трение В ВОДЕ- нет поверхностного трения. Нет спрямляющих лопаток :shock: ; нет Угла установки лопаток! Нет изменения - того и сего!. Лафа -Вкруговую!!!
Можно сделать Ступицу - небольшого диаметра; все размеры -Уменьшить.
Конечно, подозрительно похож водомёт - на Душевую насадку :shock: Но, это -ни о чём не говорит умным людям.
Вообщем, кто хочет - БЕРИТЕ идею и не думайте, что вы её спёрли. (или , как вы там говорите -копировали -чтоль.)


Вы, наверное думаете, что я усиленно изобретаю, типа ночью и потом пытаюсь обьяснить изобретённое -Вам :D
Нет. Но, типа-да))). Мысли приходят -непрерывно: и ночью и днём. Особенно много - в предутреннем тумане. :roll: На границе сна и бодрствования. Иногда, даже :shock: , получается монстр :twisted: , это , типа - между вёслами и одновинтовой лопастью. Как-бы , Гамильтон - с Мендельсоном :)

Вот предидущее сообщение , это -продолжение вариаций водомёта для горных рек! Понимаю -неожиданно.)))Но, что поделаешь. Всё интересное -неожиданно.
Я, как-то начинал такую тему . Сталкер, ещё сказал, что , кто изобретёт такой водомёт - получит нобелевскую пвхашку.
Всё -уже , на пути!
Концепция.
Что надо для девайса горной реки?
Чтобы в него - ничего не попало!!! Это, уже есть - "Кукуруза"(или как сказал барин , в одном из обсуждений - "Чечевица").
А, Обсуждение -это , уже -полдела!
Расскажу такой анекдот про это. :roll:

Как-то высказывается одна Королева о женщинах свободного поведения и говорит: как они могут ; за деньги; этож -немыслимо! А, с ней , кто разделял трапезу , спрашивает королеву: что и за МИЛЛИОН не согласились-бы? :shock:
Королева возмутилась - ЧТО- 0-О, королева -за Миллион!!!!.
Ну, вот, говорит собеседник - ТОРГ ПОШЁЛ!!!.
Аватар пользователя
viktorr
 
Сообщений: 3823
Зарегистрирован: 27 мар 2018, 10:57

Re: Попытаюсь сделать "Багги-Ски".

Сообщение viktorr » 30 сен 2020, 11:20

Конечно, второе можно и не обсуждать, ведь ,сквозь решётку Кукуруза- ничего не попадает внутрь водомёта :D
Но, как говорится -бережёного Бог бережёт.
То есть , надо предусмотреть РЕШЕНИЯ, которые Защищают части водомёта - конструктивно.
Вот я и говорю- надо знать побольше, чтобы, что-то -Упростить; Несколько Эврик и тд.
Первый пример. Например -гребной вал.
При таких раскладах, что есть возможность - "Прилететь", да ещё -не Хило, надо подумать над его Принципиальной конструкцией. Конструкций много, надо выбрать. Если, конечно, вы собрались в горные реки).
Например -обычный. В дейдвуде - подшипник , с упорной функцией . Дальше -отцентрованный вал и поддерживающий подшипник в ступице СА!
Но, я-бы, например , если-бы собрался делать водомёт для себя , типа -горный вариант ))) - не стал-бы ставить такую систему вала. Почему? Она(валовая линия) слишком -неустойчива при воздействиях. Треснешь кирпичём- погнул.
Аватар пользователя
viktorr
 
Сообщений: 3823
Зарегистрирован: 27 мар 2018, 10:57

Re: Попытаюсь сделать "Багги-Ски".

Сообщение viktorr » 30 сен 2020, 12:34

Дальше -последствия , то да сё. Винт врезается в Обечайку. Отламываются лопасти. (Причём, пользователи , всё валят на СВАРЩИКОВ, не задумываясь ни на секунду!!! ))) Учтите - он не виноват :lol:

Есть другая система гребного вала(все их знают -просто обновляю для рассуждений) . Вал лежит на не очень-то силовом подшипнике в дейдвуде(у меня -так), а. в ступице СА - упорно- поддерживающий подшипник.
Схема -получше. При ударе "кирпичём , да, децентруется. Стрелка перемещения винта -Поменьше. Зазор , может -не выбраться или будет -просто шаркать. Вообщем последствия , чуток -поменьше.
Есть схема, где используется Упорно- опорный узел в ступице СА. То есть винт висит жёстко на ступице, а, гребной вал , одним концом - в свободном подвесе к винту , передаёт ему через шпонку или шлицы -крутящий момент, а, другой конец , тоже, через центрующий и направляющий элемент -принимает крутящий момент от двс. То есть вал, типа -болтается в свободном положении и даже имеет конструктивный зазор. При ударах - ведёт себя -более "мягко." Позволяет -больше.
Аватар пользователя
viktorr
 
Сообщений: 3823
Зарегистрирован: 27 мар 2018, 10:57

Re: Попытаюсь сделать "Багги-Ски".

Сообщение viktorr » 30 сен 2020, 13:44

Есть , конечно -ещё схемы. Но, мы ищем - именно те схемы , которые , так или иначе -более или стойкие , или имеют меньшие последствия после воздействия деформирующих факторов.
Причём акцентирую внимание - ИЩЕМ те схемы , которые нам подходят в этом смысле , в условиях горной реки.
Например есть схемы с Закрытым кожухом(трубой) валом. ОЧЕНЬ Жёсткая конструкция, может служить Силовой защитой гребного вала. Винт "висит" консольно, жёстко , после винта - есть свобода действий -хотите СА; хотите Щель; хотите -ничего; хотите -Плюшки. Есть -Гудрич!))) ;)
Что-бы выбрал -я ? А, чтобы выбрали вы из схем гребного вала -для горной реки.? Напрягитесь.

Это должна быть стойкая к повреждения схема, с иммунитетом -к небольшим повреждениям.
Больше свободного. "Револьверы" нужны , но их -минимум.
Итак моя часть. Водозаборник с решёткой Кукурузой; Короткий водозаборник , очень жёсткая труба - кожух; колёсный подшипник для поддержки и и упора винта. (перед винтом). Должно быть -предельно Просто(упрощено).
Всё с использованием знаний обтекаемости! Например- ВЫДЕРЖКИ ИЗ ПОСЛЕДНЕЙ ССЫЛКИ - ТАМ ЕСТЬ ПРО ОБТЕКАЕМОСТЬ ТРУБЫ -КОЖУХА!!! ;) (перечитать). В трубе -всё компактно и силово!. Не надо нажимных сальников! Они не любят -децентровок.
Подошли к винту. Наверно-позже.
Аватар пользователя
viktorr
 
Сообщений: 3823
Зарегистрирован: 27 мар 2018, 10:57

Re: Попытаюсь сделать "Багги-Ски".

Сообщение viktorr » 30 сен 2020, 17:27

Там, вроде -шлюзы открылись(ссылка). Читаю взапой.
На 2-й странице посмотрите фотки. Посмотрите -какой Водозаборник -Бомба!!! Ну и кардан))).
Аватар пользователя
viktorr
 
Сообщений: 3823
Зарегистрирован: 27 мар 2018, 10:57

Re: Попытаюсь сделать "Багги-Ски".

Сообщение viktorr » 01 окт 2020, 13:13

Вообщем, кто более сметливый и опытный, уже понял -куда я клоню(сам только понял). Но, скажу я вам , если так будет , то это будет чистейший Горный водомёт!
Конечно, это прототип от БТР.
Хороший "бутузик". Мощная Труба-кожух. Висящий консольно -Винт!. За винтом - Свобода! Ставь, что хочешь.
Но, сначала, Андрей обсудим такой вопрос. Вот, например Винт - закрутил воду в штопор :) -затратил Энергию; потом мы поставили спрямляющие лопатки и Раскрутили струю(типа нам нужна прямая струя)- опять затратили Энергию!
Как ты Андрей считаешь - мы Рекуперировали Энергию(лопатками), или всё-же -потеряли?
Я-то думаю -потеряли - и закручивая и раскручивая! (это и есть потери :roll: ). Правда от ЗАКРУЧИВАНИЯ -никуда не денешься.!
Поэтому отпустим струю на свободу! (К Юрию Деточкину).
В какую-нибудь "аморфную " среду - лети куда хочешь; вертись -как хочешь и истекай в отверстия -как хочешь! :roll:
НО!!! Единственно , соблюдай водомётную пропорцию , между живым сечением винта и суммой площадей отверстий! И это есть -Коэффициент поджатия!
Все остальные "пупырки" -неважны . То есть вернулись к КУБУ с истекающими отверстиями из предидущего сообщения))).(Насадке).
Вложения
Vodometny-j-dvizhitel-.jpg
Аватар пользователя
viktorr
 
Сообщений: 3823
Зарегистрирован: 27 мар 2018, 10:57

Re: Попытаюсь сделать "Багги-Ски".

Сообщение viktorr » 01 окт 2020, 13:41

Если будет -так. ТО, много-ли мы потеряем, по сравнению с тем, если поставим лопатки?.
Это нам - НАДО!
Потому-что мы, КАТЕГОРИЧЕСКИ - не хотим ставить Лопатки, чтобы не добавлять в водомёт -лишние детали, которые, при случае - могут повредиться Кирпичом! ;) То есть, мы свою Линию -Гнём!!!
Но, чтобы быть уверенными в своих выводах - попросим Вадима - выдать какую-нибудь -Табличку!!
ВОТ ЭТО , Андрей - будет НУЖНАЯ, пренужная "табличка"!
ЭТА Табличка - перевернёт сознание -Тысяч Форумчан и позволит ВОЗМОЖНО -изменить конструкцию Водомёта.
Ещё более приблизить , его конструкцию - К Горной!(Минимум "пупырок" внутри.) ;)
Вся надежда на Вадима! И Это -действительно- так. Вот сейчас, Андрей- он(или кто-то другой) нам нужен со своей Таблицей Потерь на разных видах спрямляющих устройств , вплоть -без НИХ!
Подбери там из своих волонтёров - радетелей :roll:
Аватар пользователя
viktorr
 
Сообщений: 3823
Зарегистрирован: 27 мар 2018, 10:57

Пред.След.

Вернуться в Водометные катера и Джет багги

Кто сейчас на форуме

Сейчас этот форум просматривают: нет зарегистрированных пользователей и гости: 3