andrionov@gmx.de
jetboat.pro motor-bolotokhod.ru

Симпатичные технические фотографии.

Поздравления, флуд и другие свободные темы

Re: Симпатичные технические фотографии.

Сообщение viktorr » 11 фев 2020, 10:58

СЧИТАЮ, что это - ИДЕАЛЬНЫЙ винт, Эталон. Он соответствует - всем моим Опусам посвящённым теме Винтов.
Соответствует - всем моим винтам.
Ясно, что является Базой или Основой -для Всех Тюнинговых решений продвинутых самодельщиков или мастеров.
Алгоритм.
Берёшь за Основу и применяешь Свои наработки и чтобы в этих Наработках - не Было ни единой Глупости" (Необоснованного мероприятия).
На следующем фото - Ступица известного мастера. Найдите два отличия))) ))).
Вложения
impeller-solas-sd-sc-j-15-20-320x240-77518.jpg
impeller-solas-sd-sc-j-15-20-320x240-77518.jpg (8.88 KIB) Просмотров: 3737
Аватар пользователя
viktorr
 
Сообщений: 3823
Зарегистрирован: 27 мар 2018, 10:57

Re: Симпатичные технические фотографии.

Сообщение viktorr » 11 фев 2020, 11:13

Если-что - я про СТУПИЦУ! :D ;)

На первом фото - со ступицы сняты лопасти.
На втором фото - лопасти винта находятся в стадии -тонкой Доводки! :)
Вложения
IMG_1131.JPG
IMG_2473.JPG
Аватар пользователя
viktorr
 
Сообщений: 3823
Зарегистрирован: 27 мар 2018, 10:57

Re: Симпатичные технические фотографии.

Сообщение sema0874 » 16 фев 2020, 01:08

Пили сколько нужно. :D
Вложения
P1100239.JPG
была пена, стал метал.
P1100227.JPG
P1100273.JPG
P1100245.JPG
sema0874
 
Сообщений: 112
Зарегистрирован: 02 окт 2011, 18:57
Откуда: Калининград

Re: Симпатичные технические фотографии.

Сообщение viktorr » 16 фев 2020, 09:55

Я могу сказать несколько слов по этим изделиям. Значащих. Которые, может быть и не знает Изготовитель ;) (не подозревает).
Аватар пользователя
viktorr
 
Сообщений: 3823
Зарегистрирован: 27 мар 2018, 10:57

Re: Симпатичные технические фотографии.

Сообщение viktorr » 19 фев 2020, 12:48

Василий, чуешь- кака хорошая вещь!)))
Вот был-бы Багги, так Багги!
Вложения
1-l-1.gif
Аватар пользователя
viktorr
 
Сообщений: 3823
Зарегистрирован: 27 мар 2018, 10:57

Re: Симпатичные технические фотографии.

Сообщение viktorr » 19 фев 2020, 12:57

Василий, а не похожа эта лодочка на какой-никакакой Багги -блюз? Или папуасную - мореходную!
Коробка спичек не поставил, но, диаметр обечайки - 152 мм.
Вложения
151204997389441090.jpg
Аватар пользователя
viktorr
 
Сообщений: 3823
Зарегистрирован: 27 мар 2018, 10:57

Re: Симпатичные технические фотографии.

Сообщение viktorr » 19 фев 2020, 13:12

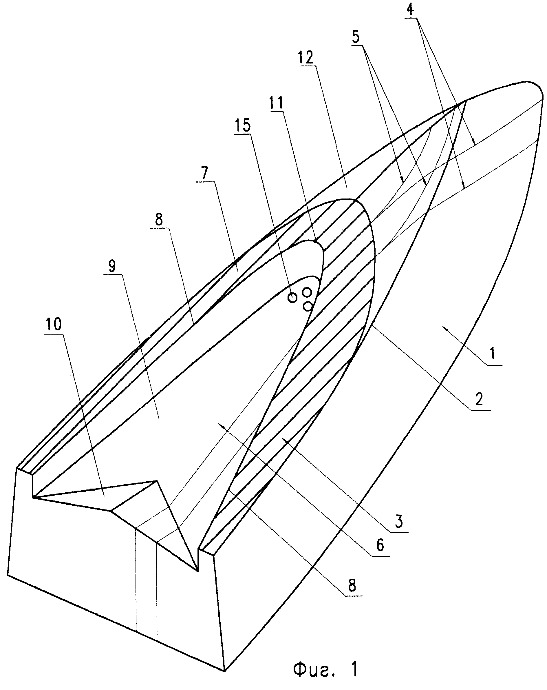
Кто найдёт СВЯЗЬ между поз. 15 и Моим Виденьем Эжектирующего Выхлопа под Днище.?)))
Может Дмитрий Ш пояснит, наверно изучил за 8 лет - принципы Бесшумного " по выхлопу . чтоб тихо подкрадаться и быстро тихо сваливать . "
А, здесь -Чистый "бесшум" :D
Вложения
gettiff.png
Аватар пользователя
viktorr
 
Сообщений: 3823
Зарегистрирован: 27 мар 2018, 10:57

Re: Симпатичные технические фотографии.

Сообщение viktorr » 21 фев 2020, 16:03

15 позиция это Отверстия для подвода Воздуха или Выхлопных газов в Зареданную Зону Днища!
Другими словами - подводный выхлоп под днище с двойным Интересом!!!
Редан , Традиционно эжектирует и ему это необходимо , что-то -"подсасывать", чтобы Удлинить Каверну за Реданом. Увеличить ЭФФЕКТИВНОСТЬ применения этого девайса-Редана. А, нам- "Отдув" через выхлопной коллектор. Повышение Оборотов. ;)
Если хотите- поговорим. :)
Аватар пользователя
viktorr
 
Сообщений: 3823
Зарегистрирован: 27 мар 2018, 10:57

Re: Симпатичные технические фотографии.

Сообщение Дима RB » 09 мар 2020, 16:17

мне интересно влияние эжекции выхлопа на наботу мотора,хочу попробовать на спрямляющем с лопаточным поджатием проверить (у такого спрямляющего ,мне кажется эффективность поболе будет чем у такого "каверного"днища и чем у спрямляющего с поджатием соплом...
пока только плюсы вижу и при такой тяге эффект точно будет.
но токарные работы дорого меня (при зарплате 15тыс у токаря делаю только самое край-необходимое
У вашего эжектора по-моему тяга слабой будет,т.к площадь- то конечно хороша,но скорость воды маловата будет. вот только может днище скользить чуть лучше будет с пузырьками воздуха(если забор соединить с атмосферой ,а не с выхопом)
Дима RB
 
Сообщений: 47
Зарегистрирован: 20 янв 2020, 14:05
Откуда: Троицкое Хабаровского края

Re: Симпатичные технические фотографии.

Сообщение Дима RB » 09 мар 2020, 16:22

..а тишиной у меня занимается глушитель от крауна 2,5л 1джей который.вход и выход этой банки 60мм.
Глушит прям хорошо! но ска не отлично...нужен наверное еще резонатор перед ней..
Дима RB
 
Сообщений: 47
Зарегистрирован: 20 янв 2020, 14:05
Откуда: Троицкое Хабаровского края

Пред.След.

Вернуться в Просто общение.

Кто сейчас на форуме

Сейчас этот форум просматривают: нет зарегистрированных пользователей и гости: 1


cron